- НаличиеВ наличии
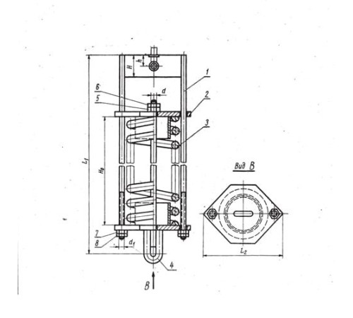
Блоки пружин подвесок стальных трубопроводов предназначены для компенсации вертикальных перемещений и поддержания проектного положения трубопроводов в системах теплоснабжения, энергетики и промышленных объектах. Они эффективно воспринимают и гасят вибрационные нагрузки, обеспечивая надежную и долговечную эксплуатацию магистралей.
Использование пружинных блоков позволяет равномерно распределить нагрузку по опорным конструкциям, предотвращая деформации и повреждения труб. Это ключевой элемент для обеспечения безопасности и бесперебойной работы всего трубопровода.
Изделия изготавливаются из высокопрочных марок стали (09Г2С, 12Х18Н10Т, сталь 20, сталь 3), что гарантирует их коррозионную стойкость и длительный срок службы в различных условиях. Мы предлагаем широкий модельный ряд с различными параметрами:
- Высота, мм: от 126 до 543
- Длина, мм: от 340 до 935
- Масса, кг: от 2,07 до 64,83
Широкий размерный ряд и вариативность по маркам стали позволяют подобрать оптимальное решение для любого технического задания. Оформите заказ онлайн для получения коммерческого предложения.
Нет отзывов об этом товаре.
Пока нет вопросов об этом товаре. Станьте первым!
